Прохідний вимикач одноклавішний бронза Asfora
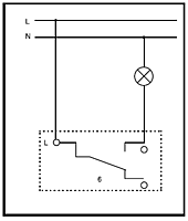
Прохідний вимикач одноклавішний на два напрямки, підходить для використання у великих приміщеннях. Завдяки своїй схемі з'єднання, дозволяє управляти навантаженням з декількох місць. Застосовується для установки в монтажні коробки в стіну. Може комбінуватися з декоративними рамками різних кольорів серії Asfora. Застосовується як вимикач в довгих коридорах. Використовується для комутації навантаження до 2,5 кВт. Матеріал не підтримує горіння АБС-пластик, стійкий до подряпин. Поверхня стійка до впливу ультрафіолету. Прихований Монтаж.
Схема підключення

Замовлення на Вимикачі і розетки Asfora Schneider Electric приймається через інтернет-портал ELMAR компанії Світлотехніка або за телефонами: 044 593 9818, а також по електронній пошті elmar@svt.org.ua
ANYA SCHNEIDER Выключатели
купить выключатели Valena Life
Legrand RX3
электрические теплые полы
разъем силовой
филаментные лампы
силовой кабель купить
Модульные автоматические выключатели Doepke
светодиодная лампа led e14
экранированный кабель
освещение торговых залов
встраиваемые светодиодные светильники