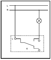
Универсальный выключатель одноклавишный слоновая кость Valena
Выключатель одноклавишный скрытой установки устанавливается в монтажную коробку 60 мм и фиксируется двумя шурупами и лампками. Номинальный ток 10 А, напряжение до 250 В. Тип подключения- безвинтовые контакты. Позволяет управлять одной группой освещения с двух мест. На корпусе изделия указан шаблон для зачистки кабеля. Панель выполнена из поликарбоната, отличающегося прочностью и пожаробезопасностью, поверхность защищена от царапин и выгорания под действием ультрафиолета. Суппорт, захваты, винты - оцинкованная сталь. Установка в монтажную коробку. Монтаж переключателя производится в стандартную еврокоробку диаметром 60 мм на одно место.


Заказ на Выключатели и розетки Valena от Legrand принимается через интернет-портал ELMAR компании Светотехника или по телефонам: 044 593 9818, а также по электронной почте elmar@svt.org.ua