Универсальный одноклавишный выключатель с подсветкой слоновая кость Valena
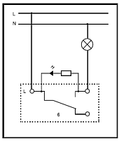
Проходной одноклавишный выключатель с подсветкой. Применяется в местах с слабой освещеностью или в условиях полной темноты, наличие подсветки позволяет безошибочно определить место нахождения выключателя в кромешной тьме. На корпусе изделия указан шаблон для зачистки кабеля. Механизм поставляется в комплекте с лицевой панелью - клавишей цвета слоновая кость, из поликарбоната, стойкого к механическим повреждениям и возгоранию. Цвет не выгорит под действием прямых солнечных лучей.Суппорт, захваты, винты - оцинкованная сталь. Установка в монтажную коробку. Проходная схема выключения (универсальный выключатель) применяется для управления светом и другой нагрузкой из более чем двух мест в квартире.
