Одноклавишный проходной выключательс подсветкой антрацит Asfora
Выключатель на одну клавишу, предназначен для включения в сеть из нескольких выключателей. Наличие светодиодной посветки облегчает нахождение клавиши в помещениях с малой освещенностью. Изготавливается из качественного АБС-пластика стойкого к возгоранию. Пластик используемый для отделки не восприимчев к ультрафиолетовому воздействию, что сохранит внешний вид выключателя даже при попадании прямых солнечных лучей на внешнюю панель. Монтаж скрытый.
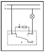
Схема подключения

Заказ на Выключатели и розетки Asfora Schneider Electric принимается через интернет-портал ELMAR компании Светотехника или по телефонам: 044 593 9818, а также по электронной почте elmar@svt.org.ua
купить выключатели Busch Jaeger
силовые кабели
накладной светильник led
светодиодная лампочка 10 вт e14 220 в
экранированный провод купить
освещение торгового зала
LED Downlight
лампа светодиодная g9
розетки Легранд Селиан
лампа светодиодная osram
кабель силовой ввг
аварийные светодиодные светильники
Похожие товары