Одноклавішний вимикач сталь Asfora
Одноклавішний вимикач серії Asfora Сталь, що застосовується для комутації мережі з навантаженням до 2,5 кВт. Знайшов своє застосування в побуті і завдяки своїм хорошим механічним якостям і стійкості до навколишнього середовища міцно зайняв свою позицію на ринку. Корпус виконаний з міцного ударостійкого пластику з захистом від ультрафіолету. Прихований Монтаж, в настановну коробку.
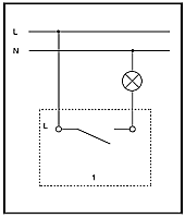
Схема підключення

Замовлення на Вимикачі і розетки Asfora Schneider Electric приймається через інтернет-портал ELMAR компанії Світлотехніка або за телефонами: 044 593 9818, а також по електронній пошті elmar@svt.org.ua
прикроватные светильники
филаментные лампы купить
светодиодная лампочка 10 вт e14 220 в
встраиваемые светодиодные светильники
Автоматы постоянного тока
led лампа g9
osram led лампы
купить провод ввг
аварийные светодиодные светильники
Автоматы переменного тока
лампа g4 светодиодная
выключатели легранд