Одноклавішний вимикач антрацит Asfora
Одноклавішний вимикач серії Asfora Антрацит, розрахований на комутацію навантаження до 2,5 кВт. У модулі використовуються самозажимні контакти. Вимикач добре компонується з рамками різних колірних гам що дозволяє створювати легкі і елегантні дизайнерські рішення. Для виготовлення використовуються тільки високоякісні матеріали стійкі до ударів і займання а глянсова поверхня покрита спеціальною плівкою, що захищає пристрій від згубного впливу ультрафіолету. Прихований Монтаж.
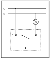
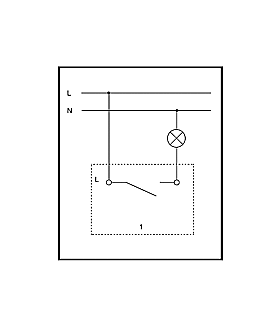
Схема підключення

Замовлення на Вимикачі і розетки Asfora Schneider Electric приймається через інтернет-портал ELMAR компанії Світлотехніка або за телефонами: 044 593 9818, а також по електронній пошті elmar@svt.org.ua
силовой кабель цена
светодиодный уличный светильник
рамки для розеток
растровые светильники
провод жаростойкий
трехфазный выключатель
купить дифреле легранд
купить Legrand Переходники
Schneider Electric выключатели и розетки
накладные светильники
кабель огнестойкий пожарной сигнализации
автоматический выключатель на 16 ампер