Прохідний вимикач одноклавішний антрацит Asfora
Вимикач прохідний, на одну клавішу, використовується для керування джерелом світла або інший навантаженням за допомогою двох і більш вимикачів з двох різних місць. Виготовляється з АБС пластика, стійкого до подряпин і не восприимчевого до ультрафіолету. завдяки чому збереже свій первісний вигляд протягом тривалого часу. Добре застосовувати на цчастках де необхідно управяль навантаженням в ланцюзі з двох різних місць. Прихований Монтаж.
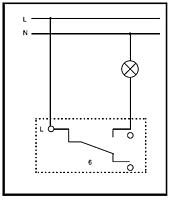
Схема підключення

Замовлення на Вимикачі і розетки Asfora Schneider Electric приймається через інтернет-портал ELMAR компанії Світлотехніка або за телефонами: 044 593 9818, а також по електронній пошті elmar@svt.org.ua
купить розетки Busch Jaeger
Счетчики моточасов theben
кабель силовой медный
светильники светодиодные накладные
купить дифавтоматы
автоматический выключатель Допке
лампа светодиодная e14 цена
Лестничные реле ELPA ТЕБЕН
провод экранированный
освещение торговых помещений
led светильник встраиваемый
Автоматические выключатели постоянного тока