Выключатель 1-клавшный Asfora Бронза EPH0100169
Доставка
-
Самовывоз Получить завтра
Бесплатно
-
Новая Почта (отделение) Получить завтра
От 150 грн -
Новая Почта (почтомат) Получить завтра
От 150 грн
Оплата и возврат
Оплачивайте покупку наличными через банк, платежной картой, предоплата безналичная
Все продукты имеют сертификаты и гарантии от производителя. Возврат возможен в течение 14 дней после покупки.
Минимальная сумма для оформления заказа — 499.00 ₴
Описание
Одноклавишный выключатель бронза Asfora
Выключатель одноклавишный, применяется для самых простых целей, может коммутировать нугрузку до 2,5кВт (10А*250В). Изготовлен из ударопрочного пластика стойкого к царапинам и ультраиолету, может применяться для монтажа как в помещении так и снаружи, хорошо переносит попадание прямых солнечных лучей. Модуль имеет цвет "Бронза" но может с легкостью устанавливаться в декоративные рамки разных цветов. Монтаж скрытый, в монтажную коробку.
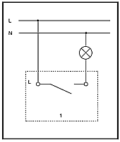
Схема подключения

Характеристики
| Страна производства: |
TRТурция
|
| Семейство: |
Asfora
|
| Телефон: |
097 439-6335 е-мейл: elmar1@svt.org.ua
|
| Артикул: |
EPH0100169
|
| Напряжение, В: | |
| Тип продукта: |
Выключатель электрический бытовой
|
| Тип подключаемой нагрузки: |
Активная, не превышающая максимально разрешенной мощности 2,5 кВт <250 В х 10 А
|
| Поставщик: |
Интернет-портал Elmar, АСТ-Светотехника Киев
|
| Производитель: |
Schneider Electric
|
Заказ и Срок поставки
| Срок поставки: |
по согласованию
|
Инсталляция и дизайн
| Особенности продукта: |
Материал -высококачественный ABS пластик, стойкий к возгоранию, механическим повреждениям и негативному воздействию Уф-излучений.
|
| Ток, А: | |
| Вид монтажа: |
Скрытый
|
| Материал панели/клавиши: | |
| Глубина общая, мм: |
42
|
| Преимущество перед аналогами: |
Отличное соотношение цена/качество. Нижний ценовой диапазон при сохранении качества бренда.
|
| Схема включения: |
Простой одноклавишный включатель/Выключатель электрический бытовой схема №1
|
| Степень защиты, IP: | |
| Цвет: |
БронзаБронза
|
| Сечение подключаемого провода, мм.кв.: |
2х2,5 жесткий/гибкий
|
| Длина, мм: |
83
|
| Клеммы: |
Общее
| Бренд: | |
| Класс защиты: |
-
|
| Цвет: |
-
|
| Материал: |
-
|
| Страна производства: | |
| Дизайн: |
|
Электрофурнитура
| Тип выключателя: |
-
|
| Тип товара (Электрофурнитура): |
|
| Особенности (Выключатели): |
|
| Серия: | |
| Количество клавиш: |
1
|
| Форма клавиши: |
Прямоугольная
|
| Способ подключения (Выключатели): |
|
| Назначение (Выключатели): |
|
Дополнительная информация
| Дополнительная информация по продукции Schneider Electric: |
Дополнительную информацию о продукции, в случае недостаточности ее на сайте ELMAR.COM.UA, можно узнать на сайте производителя и поставщика www.se.com
|
